См. также: Прикладная
математическая статистика (материалы к семинарам)
Методы менеджмента качества. Надежность и контроль качества. - 1999. № 11. - C. 34-43.
УДК 519.2
О ПРАВИЛАХ ПРОВЕРКИ СОГЛАСИЯ ОПЫТНОГО РАСПРЕДЕЛЕНИЯ С ТЕОРЕТИЧЕСКИМ
Б.Ю. Лемешко, С.Н. Постовалов
Целью первичной обработки экспериментальных наблюдений обычно является выбор закона распределения, наиболее хорошо описывающего случайную величину, выборку которой мы наблюдали. Проверка того, насколько хорошо наблюдаемая выборка описывается теоретическим законом, осуществляется с использованием различных критериев согласия. Целью проверки гипотезы о согласии опытного распределения с теоретическим является стремление удостовериться в том, что данная модель теоретического закона не противоречит наблюдаемым данным и использование ее не приведет к существенным ошибкам при вероятностных расчетах. Некорректное использование критериев согласия может приводить к необоснованному принятию (чаще всего) или необоснованному отклонению проверяемой гипотезы.
Существующие в различных источниках рекомендации по правилам использования
критериев согласия имеют ряд очень крупных недостатков. В случае
параметрических критериев типа
это
связано с подходом к группированию данных, а в случае непараметрических
критериев типа Колмогорова, Смирнова,
и
Мизеса – с проверкой
сложных гипотез.
В действующих регламентирующих документах и, в
частности, в ГОСТе СТ СЭВ
1190-78 “Прикладная статистика. Правила проверки согласия опытного
распределения с теоретическим” практически не
оговорены правила применения критериев согласия при проверке сложных гипотез.
Вследствие этого практика использования таких критериев в задачах контроля
качества, исследования надежности и в других приложениях зачастую приводит к
некорректному их применению и, как следствие, неверным выводам. Это касается
как критериев согласия типа
,
так и непараметрических критериев типа Колмогорова или типа
Мизеса.
В критериях типа
наиболее
неопределенным моментом является способ группирования данных (способ разбиения
области определения случайной величины на интервалы). В действующих рекомендациях
по применению критериев типа
используемые
способы группирования наблюдений не учитывают асимптотических свойств этого
критерия. Неоднозначность процедуры группирования отражается на мощности
применяемого критерия, его способности различать близкие гипотезы. Не учет этих
свойств, как правило, приводит на практике к неоправданному принятию
проверяемой гипотезы.
Пробел в руководящих документах, связанный с
неэффективным и некорректным применением критериев типа
, призван ликвидировать проект нового ГОСТа “Прикладная статистика. Правила проверки согласия
опытного распределения с теоретическим. Методические
рекомендации. Часть I. Критерии типа
”. Проект, в основу которого положена работа [1],
подготовлен при поддержке Технического комитета по стандартизации ТК 125 “Стандартизация
статистических методов управления качеством”. В настоящий момент ТК 125
проводит экспертизу проекта.
Подготовленные рекомендации предназначены для использования в качестве руководства по применению критериев
согласия типа
при статистической обработке результатов
наблюдений в различных приложениях:
анализе данных физических и технологических экспериментов, обработке
результатов измерений, в задачах исследования надежности, контроля качества и
т.д. Основное внимание уделено способам разбиения наблюдаемой выборки на
интервалы, в частности, асимптотически оптимальному группированию, обеспечивающему
максимальную мощность используемому критерию при близких альтернативах [2-4].
Что касается применения непараметрических критериев согласия типа Колмогорова,
Смирнова,
и
Мизеса, то здесь узким местом является проверка сложных
гипотез. В данном случае подготовка соответствующих рекомендаций требует
дополнительных исследований, но в настоящий момент уже возможна.
Проблема заключается в следующем. При проверке согласия различают простые
и сложные гипотезы. Простая проверяемая гипотеза
имеет вид
:
,
где
– функция распределения вероятностей, с которой
проверяется согласие наблюдаемой выборки, а
–
известное значение параметра (скалярного или векторного). Сложная гипотеза
имеет вид
:
,
где
– оценка параметра, вычисленная по этой же самой
выборке (если оценка
вычислена
по другой выборке, то гипотеза простая).
В процессе проверки по выборке вычисляется значение
статистики используемого критерия. А далее, для
того, чтобы сделать вывод о том, принять или отклонить гипотезу
, необходимо знать условное распределение
статистики
при
справедливости
. И если вероятность

достаточно большая, по крайней мере
, где
– условная плотность, а
– задаваемый уровень
значимости (вероятность ошибки первого рода, т.е. вероятность отклонить
справедливую гипотезу
), то нет оснований отклонять гипотезу
.
Когда проверяется простая гипотеза, всё ясно, и
порядок проверки определен действующим СТ СЭВ 1190-78.
В случае простых гипотез непараметрические критерии согласия Колмогорова,
Смирнова,
и
Мизеса являются “свободными от распределения”, и условные
законы распределения
статистик
этих критериев известны.
Так в критерии Колмогорова (Колмогорова-Смирнова) наиболее часто используется статистика [5]
,
(1)
где
-
объем выборки,
- упорядоченные по возрастанию выборочные
значения,
- функция закона распределения, согласие с
которым проверяется. Распределение величины
при простой гипотезе в пределе подчиняется
закону Колмогорова
[5].
Статистика критерия Смирнова [5]
(2)
при
простой гипотезе в пределе подчиняется распределению
с числом степеней свободы, равным 2.
Статистика критерия
Мизеса (Крамера-Мизеса-Смирнова)
(3)
при простой гипотезе
подчиняется распределению
[5],
а статистика критерия
Мизеса (Андерсона-Дарлинга)
(4)
–
распределению
[5].
В случае сложных гипотез, распределения
существенно отличаются от распределений
статистик при простых гипотезах. Более того, распределения статистик
непараметрических критериев согласия при проверке сложных гипотез зависят от
характера этой сложной гипотезы. Целый ряд факторов,
определяющих “сложность” гипотезы, влияет на закон распределения статистики
. В первую очередь, конечно, это вид
наблюдаемого закона распределения (закона, соответствующего истинной гипотезе
), далее тип оцениваемого параметра
и количество оцениваемых параметров (а в некоторых ситуациях и конкретное
значение параметра, как, например, в случае гамма-распределения),
затем используемый метод оценивания параметров, а при малых объемах
выборки
распределение
зависит и от
. Правда существенная зависимость от
наблюдается только при
небольших объемах выборки. Уже при
распределение
достаточно близко к предельному
, и зависимостью от
можно пренебречь.
Решению проблемы применения непараметрических критериев согласия при сложных гипотезах с использованием различных подходов посвящено очень много публикаций. Главный вывод, который можно сделать на основании наиболее значимых, на наш взгляд, работ [5-18] – нельзя пренебрегать тем фактом, что проверяется сложная гипотеза: ошибки слишком велики. Однако, рекомендаций того, как поступать в каждой реальной ситуации (за редким исключением) они не дают. Специалисты по-прежнему предупреждают об опасности некорректного применения непараметрических критериев при сложных гипотезах [19-21].
В [22,23] нами
были получены обнадеживающие результаты при исследовании методами
статистического моделирования распределений статистик
для различных наблюдаемых законов
случайных величин и оценивании параметров этих законов методом максимального
правдоподобия. На основании этих результатов (построенных аппроксимаций для
) при условии, что мы фиксируем сложную гипотезу (фиксируем
закон, согласие с которым проверяем, и выбираем в качестве метода оценивания
метод максимального правдоподобия), уже можно для достаточно широкого спектра
законов
обеспечивать корректное применение
непараметрических критериев согласия.
Следует подчеркнуть, что рекомендации, вытекающие из работ [22,23], справедливы только при использовании оценок максимального правдоподобия (ОМП). Дальнейшие исследования показали [24], что на распределения статистик непараметрических критериев согласия при сложных гипотезах очень существенно влияет применяемый метод оценивания параметров.
Насколько
существенна зависимость распределений статистик критериев согласия от метода
оценивания параметров показывают следующие примеры. В данном случае для
иллюстрации зависимости нами использовались оценки максимального правдоподобия
и MD-оценки. При вычислении MD-оценок
минимизируется соответствующее расстояние между эмпирическим и теоретическим
распределениями. При использовании статистики Колмогорова
в качестве оценки вектора
параметров
выбираются значения, минимизирующие статистику (1):
(MD-оценки
). Аналогично, при использовании
статистики
минимизируется по
статистика
(3)
![]()
(MD-оценки
).
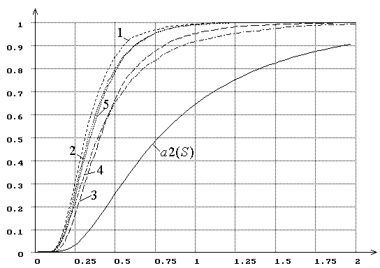
На рис. 1 представлены распределения
статистики Колмогорова
при проверке сложной гипотезы с использованием
метода максимального правдоподобия и оценивании двух параметров закона,
когда гипотезе
соответствует: “1” – нормальный закон с
функцией плотности
, “2” – логистический
, “3” – Лапласа
, “4” – наименьшего значения
, “5” – Коши
.

Рис. 1. Распределения
статистики Колмогорова
при использовании ОМП.
На рис. 2 для аналогичных гипотез
и
использовании ОМП приведены распределения статистики
Крамера-Мизеса-Смирнова,
а на рис. 3 в подобной ситуации - распределения статистики
Андерсона-Дарлинга.
Для того, чтобы показать насколько сильно отличаются
распределения
при простых и сложных гипотезах, на всех
рисунках представлены графики предельных функций распределений этих статистик в
случае проверки простых гипотез, соответственно, функции распределения
,
,
.

Рис. 2. Распределения
статистики
Крамера-Мизеса-Смирнова при использовании ОМП.

Рис. 3. Распределения
статистики
Андерсона-Дарлинга при использовании ОМП.
Рис. 4 дает представление о характере изменения распределения
при одном и том же виде гипотезы
:
в
зависимости от выбранного метода оценивания. На этом рисунке приведены распределения
статистики
Андерсона-Дарлинга при
проверке гипотезы о нормальности при использовании MD-оценок
(на
рис. обозначено “1”), ОМП (“2”), MD-оценок
(“3”).

Рис. 4. Распределения
статистики
Андерсона-Дарлинга при проверке нормальности и
использовании MD-оценок
(1), использовании ОМП (2), использовании MD-оценок
(3).
Используемый метод оценивания очень сильно влияет на распределения статистик
непараметрических критериев, и не учитывать этого ни в коем случае нельзя. В то
же время следует отметить, что, если при проверке гипотез
:
относительно
различных законов
используются в качестве оценок параметров
значения, минимизирующие статистику критерия
согласия, то разброс распределений
для
различных гипотез минимален. На рис. 5 представлены графики
распределений
для статистики Колмогорова
при проверке тех же гипотез,
что и на рис. 1 (о принадлежности нормальному закону – “1”, логистическому – “2”, Лапласа – “3”, наименьшего значения
– “4”, Коши – “5”), но при использовании в данном случае MD-оценок, минимизирующих
статистику
. На рис. 6 отображены распределения
для статистики
Крамера-Мизеса-Смирнова
для аналогичных гипотез
и использовании MD-оценок, минимизирующих эту
же статистику
(сравните с рис. 2).

Рис. 5. Распределения
статистики Колмогорова
при использовании MD-оценок
.

Рис. 6. Распределения
статистики
Крамера-Мизеса-Смирнова
при использовании MD-оценок
.
Если рассматривать только распределения
статистик
непараметрических критериев согласия, то кажется
наиболее целесообразным при проверке сложных гипотез использовать MD-оценки, так как в этом случае разброс
для разных законов
минимален. Но если обратить внимание на мощность
соответствующих критериев согласия, то оказывается, что следует отдать
предпочтение использованию ОМП. На рис. 7 представлены оперативные
характеристики (мощность
как
функция от уровня значимости
)
для критерия согласия Колмогорова при проверке сложной гипотезы о нормальности
наблюдаемого закона против гипотезы о принадлежности выборки логистическому распределению. Оперативные характеристики
построены для объема выборки
.
Они показывают, что при использовании ОМП критерий согласия более мощен, чем
при использовании MD-оценок.

Рис.7. Оперативные характеристики критерия Колмогорова
при проверке сложной гипотезы о согласии с нормальным распределением
против альтернативы
– логистическое распределение (1 – ОМП, 2 – MD-оценки)
Что следует отметить в заключение? Давно назрела необходимость разработки рекомендаций, устанавливающих четкие правила применения непараметрических критериев при проверке сложных гипотез о согласии опытного распределения с теоретическим. В настоящий момент для этого уже нет принципиальных трудностей. Для достаточно широкого класса параметрических моделей законов распределений, наиболее часто используемых в приложениях и, в частности, в задачах контроля качества и исследованиях надежности, методами компьютерного моделирования могут быть построены хорошие приближения предельных распределений статистик критериев при различных сложных гипотезах (и различных методах оценивания). Могут быть построены аналитически простые модели и рассчитаны таблицы этих распределений, облегчающие применение критериев.
Естественно, что при всей широте такие рекомендации не могут охватить всего многообразия законов случайных величин, с которыми мы можем столкнуться на практике. В принципе, любой исследователь для конкретной наблюдаемой величины может предложить (построить) свою параметрическую модель закона, не представленную в руководящих документах, наиболее адекватно, с его точки зрения, описывающего эту случайную величину. После оценки по имеющейся выборке параметров модели возникает необходимость проверки сложной гипотезы об адекватности выборочных наблюдений и построенного закона с использованием критериев согласия.
Понятно, что множество всех сложных гипотез бесконечно и заранее иметь
распределения
для любой сложной гипотезы
практически невозможно. Что же делать, если для
описания выборки используется закон распределения вероятностей
и найдены оценки его параметров, а для проверки
сложной гипотезы
:
исследователю
неизвестно распределение
статистики
соответствующего критерия согласия?
Для ситуаций, когда используемый закон распределения вероятностей
и/или метод оценивания его параметров не
зафиксированы конкретно в правилах, определяемых рекомендациями, для проверки
сложной гипотезы
:
наиболее
целесообразно, на наш взгляд, оговорить в тексте руководящего документа
следующую методику компьютерного анализа статистических закономерностей. В
соответствии с законом
следует
смоделировать
выборок того же объема
, что и выборка, для которой необходимо проверить
гипотезу
:
.
Для каждой из
выборок вычислить оценки тех же параметров, а
затем значение статистики
соответствующего
критерия согласия. В результате получим выборку
значений статистики с законом
распределения
для проверяемой гипотезы
. По этой выборке при достаточно
большом
можно построить достаточно
гладкую эмпирическую функцию распределения
, которой можно непосредственно воспользоваться
для вывода о том, следует ли принимать гипотезу
. А можно, при желании, по
построить приближенную аналитическую
модель, аппроксимирующую
, и тогда уже, опираясь на эту модель, принимать
решение по поводу проверяемой гипотезы. Хорошей аналитической моделью для
может оказаться и
функция распределения одного из знакомых законов, часто используемых в приложениях,
как было получено в [23]. Во всяком случае, всегда можно, опираясь на ограниченное
множество законов распределения, построить для
модель в виде смеси законов [ 25,26].
Реализация такой процедуры компьютерного анализа распределений статистик в настоящий момент не содержит ни принципиальных, ни практических трудностей.
СПИСОК ИСПОЛЬЗОВАННОЙ ЛИТЕРАТУРЫ
1.
Денисов В.И., Лемешко
Б.Ю., Постовалов С.Н. Прикладная статистика. Правила проверки согласия
опытного распределения с теоретическим. Методические
рекомендации. Часть I. Критерии типа
.
- Новосибирск: Изд-во НГТУ, 1998. - 126 с.
2. Лемешко Б.Ю. Асимптотически оптимальное группирование наблюдений - это обеспечение максимальной мощности критериев // Надежность и контроль качества. - 1997. - № 8. - С. 3-14.
3. Лемешко Б.Ю. Асимптотически оптимальное группирование наблюдений в критериях согласия // Заводская лаборатория. - 1998. Т. 64. – №1. – С.56-64.
4.
Лемешко Б.Ю., Постовалов С.Н. О зависимости предельных
распределений статистик
Пирсона
и отношения правдоподобия от способа группирования данных // Заводская
лаборатория. - 1998. Т. 64. – № 5. – С.56-63.
5. Большев Л.Н., Смирнов Н.В. Таблицы математической статистики. - М.: Наука, 1983. - 416 с.
6. Kac M., Kiefer J., Wolfowitz J. On tests of normality and other tests of
goodness of fit based on distance methods // Ann. Math. Stat.,
1955. V.26. - P.189-211.
7. Durbin J. Kolmogorov-Smirnov test when parameters are estimated // Lect. Notes Math. 1976. V. 566. P. 33-44.
8. Мартынов Г.В. Критерии омега-квадрат. – М.: Наука, 1978. – 80 с.
9.
Pearson E.S., Hartley H.O. Biometrica
tables for Statistics. V.2. –
10.Stephens M.A. Use of Kolmogorov-Smirnov, Cramer - von Mises
and related statistics – vithout extensive table //
J. R. Stat. Soc., 1970, B. 32. – P. 115-122.
11.Stephens M.A. EDF
statistics for goodness of fit and some comparisons // J. Am. Statist. Assoc.,
1974, v.69. – P. 730-737.
12.Chandra M.,
13.Несененко Г.А. Тюрин Ю.Н. Асимптотика статистики Колмогорова для параметрического семейства // ДАН СССР, 1978, т.239, № 6. – С. 1292-1294.
14.Тюрин Ю.Н. О предельном распределении статистик Колмогорова-Смирнова для сложной гипотезы // Изв. АН СССР. Сер. Матем., 1984, т. 48, № 6. – C. 1314-1343.
15.Тюрин Ю.Н., Саввушкина Н.Е. Критерии согласия для распределения Вейбулла-Гнеденко. // Изв. АН СССР. Сер. Техн. кибернетика, 1984, № 3. – C. 109-112.
16.Тюрин Ю.Н. Исследования по непараметрической статистике (непараметрические методы и линейная модель). Автореф. дисс. на соиск. учен. степени д-ра физ.-мат. наук. – М., 1985. - 33 с. – (МГУ).
17.Саввушкина Н.Е. Критерий Колмогорова-Смирнова для логистического и гамма-распределения // Сб. тр. ВНИИ систем. исслед. – 1990, № 8.
18.Тюрин Ю.Н., Макаров А.А. Анализ данных на компьютере. // М.: ИНФРА-М, Финансы и статистика, 1995. – 384 с.
19.Орлов А.И. Распространенная ошибка при использовании критериев Колмогорова и омега-квадрат // Заводская лаборатория, 1985. Т. 51. №1. - С. 60-62.
20.Бондарев Б.В. О проверке сложных статистических гипотез // Заводская лаборатория. 1986. Т. 52. № 10. - С. 62-63.
21.Кулинская Е.В., Саввушкина Н.Е. О некоторых ошибках в реализации и применении непараметрических методов в пакете для IBM PC // Заводская лаборатория, 1990. Т. 56. № 5. - С. 96-99.
22.Лемешко Б.Ю. Постовалов С.Н. Прикладные аспекты использования критериев согласия в случае проверки сложных гипотез // Надежность и контроль качества. - 1997. - № 11. - С. 3-17.
23.Лемешко Б.Ю., Постовалов С.Н. О распределениях статистик непараметрических критериев согласия при оценивании по выборкам параметров наблюдаемых законов // Заводская лаборатория. - 1998. Т. 64. – № 3. – С. 61-72
24.Лемешко Б.Ю., Постовалов С.Н. Исследование допредельных распределений статистик критериев согласия при проверке сложных гипотез // Тр. IV межд. конференции “Актуальные проблемы электронного приборостроения АПЭП-98”. Новосибирск, 1998. Т.3. – С. 12-16.
25.Лемешко Б.Ю., Постовалов С.Н. Статистический анализ смесей распределений по частично группированным данным // Сб. научных трудов НГТУ. - Новосибирск: Изд-во НГТУ, 1995. - № 1. - С. 25-31.
26.Лемешко Б.Ю., Постовалов С.Н. Программное обеспечение статистического анализа смесей случайных величин, представленных частично группированными и интервальными выборками // Тр. III межд. конференции “Актуальные проблемы электронного приборостроения АПЭП-96”. - Новосибирск, 1996. - Т. 6. - Ч.1. - С.50-53.