См. также: Прикладная математическая статистика (материалы к семинарам)
Лемешко Б.Ю., Лемешко С.Б., Горбунова А.А. О
применении и мощности критериев проверки однородности дисперсий. Ч. I. Параметрические критерии //Измерительная техника. 2010. № 3. – С.10-16.
Лемешко Б.Ю., Лемешко С.Б., Горбунова А.А. О
применении и мощности критериев проверки однородности дисперсий. Ч. II. Непараметрические критерии// Измерительная
техника. 2010. № 5. – С.11-18.
Измерительная
техника. 2004. − № 10. −
с. 10-15
519.233.3: 006.91.001
Б.Ю. Лемешко, Е.П. Миркин
Методами статистического моделирования исследованы распределения классических статистик, используемых при проверке гипотез о дисперсиях в серии выборок. Для статистик, используемых в критериях Бартлетта и Кокрена, получены таблицы процентных точек, применение которых правомерно при наблюдаемых законах, описываемых экспоненциальным семейством распределений.
Ключевые слова: проверка гипотез, математическое ожидание, дисперсия, процентные точки, критерий Бартлетта, критерий Кокрена
The classical statistic distributions building on samples series used in
testing hypotheses on variances have been investigated by means of statistical
modeling methods. The tables of percentage points of Bartlett’s and Cochran’s
statistics, which can be used for correct testing hypotheses when observed laws
are described with the exponential distribution family, have been obtained.
Key words: testing
hypotheses, mathematical expectation, variance, percentage points, Bartlett’s
test, Cochran’s test
При статистическом контроле качества для проверки наличия возмущения в ходе процесса, как правило, используется ряд статистических критериев, с помощью которых проверяются гипотезы о постоянстве дисперсий контролируемого показателя или о равенстве этого показателя номинальному значению. Аналогичные задачи проверки гипотез возникают в измерительных задачах. В литературных источниках [1, 2] и стандартах [3] в этих целях рассматривается применение критериев Бартлетта [4] и Кокрена [5]. Данные критерии применяются для проверки гипотез о равенстве дисперсий совокупности выборок. В [3] применение критерия Кокрена предусматривается для выделения выбросов при анализе физико-химических измерений.
Проверяемая гипотеза о
постоянстве дисперсии
выборок имеет вид:
.
(1)
а конкурирующая с ней гипотеза –
,
(2)
где неравенство выполняется, по
крайней мере, для одной пары индексов
,
.
Например, в задаче
контроля некоторого показателя гипотеза
может утверждать, что, по
крайней мере, для двух моментов взятия выборок из общего числа моментов
времени m (m выборок, взятых в разные моменты времени)
дисперсия имеет разные значения.
В качестве основного предположения при построении критериев Бартлетта и Кокрена и выводе предельных распределений статистик этих критериев выдвигалась принадлежность наблюдаемых случайных величин (погрешностей измерений) нормальному закону распределения.
Известно, что погрешности измерительных приборов далеко не всегда описываются нормальным законом распределения [6]. Очевидно и то, что в задачах контроля качества регистрируемые отклонения контролируемого показателя технологического процесса от номинального (заданного) значения при условии стационарности процесса не всегда подчиняются нормальному закону. При этом сам процесс может удовлетворять выдвигаемым требованиям, например, математическое ожидание – совпадать с номинальным значением показателя технологического процесса, а дисперсия – не превышать заданной величины.
Как поведут себя рассматриваемые критерии при нарушении предположений о нормальности погрешностей измерений? Возможно ли в изменившейся ситуации применение данных критериев в их классическом виде или такие действия приведут к некорректности результатов?
Цель данной работы состояла в исследовании распределений статистик вышеупомянутых критериев при различной степени отклонения распределения наблюдаемых случайных величин (погрешностей измерений) от нормального закона и в выработке рекомендаций по применению данных критериев в таких условиях. Представленные результаты дополняют исследования [7] о поведении статистик критериев, используемых для проверки гипотез о дисперсиях и математических ожиданиях. Как и в работе [7], в основе данных исследований лежала развиваемая методика статистического моделирования и компьютерного анализа, хорошо зарекомендовавшая себя при исследовании статистических закономерностей в [8, 9].
Статистика критерия Бартлетта вычисляется в соответствии с соотношением [2]:
где
– объемы выборок,
, если математическое ожидание
известно, и
, если неизвестно,
,
,
– оценки выборочных дисперсий.
При неизвестном математическом ожидании оценки
, где
и
. Если гипотеза
верна, все
и выборки извлекаются из
нормальной генеральной совокупности, то статистика (3) приближенно
подчиняется
-распределению.
При нормально
распределенных результатах измерений распределение статистики (3) практически
не зависит от изменения объема выборки. Например, на рис. 1 приведены
практически совпадающие функции распределения статистики критерия Бартлетта
(3) при различных объемах выборок (
). Это означает, что в случае
принадлежности результатов измерений нормальному закону выводы остаются
корректными и при очень малых объемах анализируемых выборок.
В то же время, распределения статистики (3) очень чувствительны к отклонениям наблюдаемого закона от нормального. Вид распределения статистики (3) исследовался при различных наблюдаемых законах, в частности, в случае принадлежности моделируемых выборок законам логистическому с плотностью
,
Лапласа с плотностью
,
экспоненциальному семейству распределений с различными параметрами формы с плотностью
,
(4)
где
– параметр формы. Законы нормальный и Лапласа являются частными случаями данного
семейства распределений при значениях параметра формы 2 и 1 соответственно. Семейство
(4) может быть хорошей моделью для законов распределения погрешностей различных
измерительных систем.

Рис. 1.
Функции распределения статистики классического критерия Бартлетта при различных
объемах выборок при ![]()
Рис. 2 отражает
зависимость распределений статистики (3) от вида наблюдаемого закона при
различных объемах выборок. Видно, что при отклонении
закона распределения наблюдаемого показателя от нормального закона распределение
статистики критерия Бартлетта (3) существенно отличается от
-распределения. При этом
распределения статистики становятся более зависимыми от объема выборки, чем
в случае нормального закона.
Следовательно, если
опираться на классическое предельное
-распределение в случае
принадлежности наблюдаемой величины распределению Лапласа или логистическому, то даже при справедливости проверяемой гипотезы
о равенстве дисперсий она с
большой вероятностью будет отклоняться. На рис. 3 показано, как меняется
распределение статистики Бартлетта, если результаты измерений подчиняются
экспоненциальному семейству распределений с различными значениями параметра
формы. Вид функций распределения статистики Бартлетта на рис. 3 показывает,
что в случаях, когда результаты измерений принадлежат распределению
экспоненциального семейства, более плосковершинному по сравнению с
нормальным, то, если мы воспользуемся классическим предельным распределением,
неверная проверяемая гипотеза
может приниматься с большой
вероятностью.

Рис. 2. Функции
распределения статистики Бартлетта при отклонении закона распределения
наблюдаемого показателя от нормального при различных объемах выборки и ![]()
Представленная на рис. 3 картина
хорошо иллюстрирует рассуждения [10], изложенные в [11], по поводу применения
классического критерия Бартлетта [4] в случае нарушения предположений о нормальности.
При законах распределения наблюдаемых величин, более плосковершинных по
сравнению с нормальным (с отрицательными значениями коэффициента эксцесса
, где
– четвертый центральный
момент,
– дисперсия
закона) классический критерий Бартлетта [4] затушевывает разницу в дисперсиях,
а в случае более островершинных (при
) – находит различие в
дисперсиях, когда такого различия нет. Подчеркнем, что ниже аналогичную
картину для критерия Кокрена отражает рис. 6.

Рис. 3. Функции распределения
статистики критерия Бартлетта в случае распределений экспоненциального
семейства
с различными значениями параметра формы при
и ![]()
При законах распределения
наблюдений, отличающихся от нормального, распределения статистики Бартлетта
существенно зависят от объема выборки
, однако достаточно хорошо сходятся
к некоторым предельным законам.
В случае принадлежности
наблюдаемых величин распределениям экспоненциального семейства на основании результатов
статистического моделирования нами построены таблицы верхних процентных
точек (1%, 5%, 10%) статистики Бартлетта для значений параметра формы
=0.5,
1, 3, 5, 10 при различных m и ряда значений n. Процентные точки строились по смоделированным
эмпирическим распределениям статистик объемом в 50000 с усреднением по ряду
экспериментов. В случае распределения Лапласа (
=1)
полученные процентные точки представлены в приложении 1.
В том случае, когда все
одинаковы,
, возможно использование
более простого критерия Кокрена. Статистика Q критерия Кокрена
выражается формулой [2]
где
, где m – число независимых оценок дисперсий
(число выборок).
Распределения статистики Кокрена сильно зависят от объема наблюдаемых выборок. Поэтому в справочной литературе приводятся только таблицы процентных точек [2], которые и используются при проверке гипотез. На рис. 4 приведены полученные в результате компьютерного моделирования функции распределения статистики (5) при различных объемах выборок. В данном случае число оценок дисперсий m=5.

Рис. 4.
Функции распределения статистики критерия Кокрена при
различных объемах выборок при ![]()
Как и критерий Бартлетта, критерий Кокрена
используется в предположении, что результаты измерений принадлежат нормальному
закону. Поэтому, представляет интерес, насколько сильно меняется распределение
статистики Кокрена (5) в случае определенных
отклонений закона распределения результатов измерений (контролируемого
показателя) от нормального. На рис. 5 представлен
вид функции распределения статистики (5), когда при справедливости
проверяемой гипотезы
о равенстве дисперсий выборки данных принадлежат
различным законам: нормальному, логистическому и
Лапласа. Различие в законах распределения статистики (5) сохраняет характер при
любых объемах выборок.

Рис. 5. Функции распределения
статистики критерия Кокрена при отклонении закона
распределения наблюдаемого показателя от нормального при различных объемах
выборки при ![]()
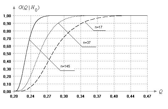
На рис. 6 показано, как существенно меняется распределение статистики Кокрена, если результаты измерений подчиняются распределениям экспоненциального семейства с различными параметрами формы. Вид распределений статистики (5), представленных на рисунках 5 и 6, позволяет утверждать, что при нарушении предположений о нормальности результатов измерений, если этого не учитывать, проверяемая гипотеза о равенстве дисперсий может с большой вероятностью отвергаться в случае ее справедливости и приниматься в случае несправедливости.
В [2] утверждается, что критерий Кокрена несколько уступает по мощности критерию Бартлетта. Распределения статистики Кокрена сильно зависят от объема выборок даже при нормальном законе и очень зависят от вида наблюдаемого закона. Казалось бы, что все это делает его мало привлекательным при произвольных наблюдаемых законах.

Рис. 6. Функции распределения
статистики критерия Кокрена в случае распределений
экспоненциального семейства с различными значениями параметра формы при
и ![]()
Однако на самом деле, как показали наши исследования, в случае принадлежности наблюдений нормальному закону критерий Кокрена превосходит по мощности критерий Бартлетта.
Например, в таблице 1 для
сравнения приведены значения мощности
данных критериев относительно
трех различных альтернатив при различных объемах выборок
для вероятностей ошибок
первого рода
=0.1, 0.05, 0.01. Конкурирующая гипотеза предполагает, что
одна из выборок, например, выборка с номером
имеет некоторую другую
дисперсию. Рассмотрены альтернативы
:
;
:
и
:
. Остальные
выборки принадлежат
нормальному закону с
(
). В таблице
значения мощности приведены для числа выборок
и достаточно больших объемов
выборок, т.к. при малых
мощность данных критериев, то есть их способность различать
близкие альтернативы, очень мала.
Таблица 1. Мощность критериев Бартлетта и Кокрена относительно
альтернатив
,
,![]()
|
|
|
|
|||||
|
|
|
|
|||||
|
Критерий Бартлетта |
Критерий Кокрена |
Критерий Бартлетта |
Критерий Кокрена |
Критерий Бартлетта |
Критерий Кокрена |
||
|
200 |
0.1 |
0.1706 |
0.2342 |
0.3600 |
0.4778 |
0.8346 |
0.9196 |
|
0.05 |
0.1030 |
0.1078 |
0.2534 |
0.3022 |
0.7568 |
0.8370 |
|
|
0.01 |
0.0274 |
0.0306 |
0.1064 |
0.1362 |
0.5558 |
0.6708 |
|
|
500 |
0.1 |
0.2608 |
0.3488 |
0.6712 |
0.7976 |
0.9968 |
0.9990 |
|
0.05 |
0.1682 |
0.1938 |
0.5554 |
0.6598 |
0.9926 |
0.9974 |
|
|
0.01 |
0.0608 |
0.0726 |
0.3330 |
0.4288 |
0.9702 |
0.9860 |
|
|
1000 |
0.1 |
0.4556 |
0.4990 |
0.9432 |
0.9686 |
0.9998 |
1 |
|
0.05 |
0.3340 |
0.3816 |
0.8998 |
0.9410 |
0.9998 |
1 |
|
|
0.01 |
0.1368 |
0.2034 |
0.7422 |
0.8560 |
0.9996 |
1 |
|
Стандарт [3] предполагает
применение критерия Кокрена при малых объемах выборок:
. Поэтому следует иметь ввиду, что при таких величинах
надежно различать можно лишь
достаточно далекие альтернативы, когда дисперсии отличаются “в разы”.
В
случае принадлежности наблюдаемых величин распределениям экспоненциального
семейства нами построены таблицы верхних процентных точек (1%, 5%, 10%) статистики
Кокрена для значений параметра формы
=0.5, 1, 3, 5, 10 при различных m и ряда значений
. Процентные точки строились на основании результатов статистического
моделирования и находились по
смоделированным эмпирическим распределениям статистик объемом в 50000 с
усреднением по ряду экспериментов. В случае
распределения Лапласа (
=1) полученные процентные
точки представлены в приложениях 2-4.
Таким образом, критерии Бартлетта и Кокрена весьма
чувствительны к отклонениям закона результатов измерений (наблюдаемого
показателя) от нормального. Корректное применение
этих критериев требует знания распределений статистик при конкретных законах
наблюдаемых случайных величин. Если наблюдаемый закон отличается от нормального, применение классических результатов
недопустимо. В тех случаях, когда наблюдаемые случайные величины хорошо
описываются распределением экспоненциального семейства с некоторым параметром
формы
, можно воспользоваться полученными в данной работе
таблицами соответствующих верхних процентных точек.
При необходимости регулярных проверок гипотез о дисперсиях при некоторой конкретной модели наблюдаемого закона для нахождения (в этих условиях) распределения статистики критерия Бартлетта (или Кокрена) можно рекомендовать воспользоваться методикой статистического моделирования и последующего компьютерного анализа полученной закономерности.
Подробные результаты исследований, а также построенные таблицы процентных точек в полном объеме доступны по адресу http:\\ami.nstu.ru\~headrd \seminar\Kontrol_Q\krit_zad.htm.
Работа выполнена при финансовой поддержке Минобразования РФ (проект № Т02-3.3-3356)
Л И Т Е Р А Т У Р А
1. Миттаг Х.-Й., Ринне Х. Статистические методы обеспечения качества. – М.: Машиностроение. 1995. – 600 с.
2. Большев Л.Н., Смирнов Н.В. Таблицы математической статистики. – М.: Наука, 1983. - 416 с.
3. ГОСТ Р ИСО 5725–1–2002 ÷ ГОСТ Р ИСО 5725–6–2002. Точность (правильность и прецизионность) методов и результатов измерений. – М.: Изд-во стандартов. 2002.
4. Bartlett
M.S. Properties of sufficiency of statistical tests // Proc. Roy. Soc., 1937, Series A, Vol. 31. – P. 268-282.
5. Cochran
W.G. The distribution of the largest of a set of estimated variances as a
fraction of their total // Ann. of eugenics, 1941, 11. – P. 47-52.
6. Новицкий П.В., Зограф И.А. Оценка погрешностей результатов измерений. – Л.: Энергоатомиздат, 1991. – 303 с.
7. Лемешко Б.Ю., Помадин С.С. Проверка гипотез о математических ожиданиях и дисперсиях в задачах метрологии и контроля качества при вероятностных законах, отличающихся от нормального // Метрология. 2004. №3. – С. 3-15.
8. Р 50.1.033-2001. Рекомендации по стандартизации. Прикладная статистика. Правила проверки согласия опытного распределения с теоретическим. Часть I. Критерии типа хи-квадрат. – М.: Изд-во стандартов. 2002. – 87 с.
9. Р 50.1.037-2002. Рекомендации по стандартизации. Прикладная статистика. Правила проверки согласия опытного распределения с теоретическим. Часть II. Непараметрические критерии. – М.: Изд-во стандартов. 2002. – 64 с.
10. Box G.E.P. Non-normality and tests on variances // Biometrika. 1953. Vol. 40. – P. 318-335.
11. Шеффе Г. Дисперсионный анализ. М.: Физматгиз, 1980. – 628 с.
Приложение 1. Верхние процентные (
´100%) точки для статистики (5) критерия Бартлетта, построенной по m независимым
оценкам дисперсии, каждая из которых обладает
степенями свободы. Выборка принадлежит
распределению экспоненциального семейства с параметром формы 1 (распределению
Лапласа)
|
|
|
|
||||
|
0.15 |
0.1 |
0.05 |
0.02 |
0.01 |
||
|
2 |
10 |
3.96 |
5.10 |
7.04 |
9.57 |
11.37 |
|
50 |
4.78 |
6.21 |
8.78 |
12.29 |
14.93 |
|
|
100 |
4.92 |
6.42 |
9.07 |
12.70 |
15.43 |
|
|
3 |
10 |
7.25 |
8.71 |
11.16 |
14.27 |
16.51 |
|
50 |
8.78 |
10.63 |
13.74 |
17.79 |
20.80 |
|
|
100 |
8.95 |
10.83 |
14.06 |
18.29 |
21.40 |
|
|
4 |
10 |
10.29 |
11.98 |
14.78 |
18.24 |
20.82 |
|
50 |
12.26 |
14.40 |
17.91 |
22.42 |
25.80 |
|
|
100 |
12.63 |
14.83 |
18.52 |
23.30 |
26.87 |
|
|
5 |
10 |
13.04 |
14.96 |
18.09 |
21.93 |
24.81 |
|
50 |
15.65 |
18.02 |
21.93 |
26.83 |
30.54 |
|
|
100 |
16.05 |
18.47 |
22.48 |
27.69 |
31.54 |
|
|
6 |
10 |
15.75 |
17.85 |
21.23 |
25.43 |
28.49 |
|
50 |
18.75 |
21.31 |
25.51 |
30.76 |
34.63 |
|
|
100 |
19.22 |
21.87 |
26.23 |
31.45 |
35.43 |
|
|
7 |
10 |
18.35 |
20.60 |
24.19 |
28.66 |
31.98 |
|
50 |
21.87 |
24.63 |
29.06 |
34.63 |
38.71 |
|
|
100 |
22.45 |
25.30 |
29.87 |
35.60 |
39.87 |
|
|
8 |
10 |
21.00 |
23.37 |
27.22 |
32.08 |
35.66 |
|
50 |
24.88 |
27.79 |
32.50 |
38.26 |
42.49 |
|
|
100 |
25.59 |
28.58 |
33.41 |
39.50 |
43.77 |
|
|
9 |
10 |
23.53 |
26.06 |
30.05 |
35.10 |
38.65 |
|
50 |
27.88 |
30.96 |
35.90 |
42.09 |
46.44 |
|
|
100 |
28.53 |
31.71 |
36.72 |
43.11 |
47.48 |
|
|
10 |
10 |
26.04 |
28.68 |
32.99 |
38.18 |
41.85 |
|
50 |
30.78 |
33.98 |
39.20 |
45.36 |
49.88 |
|
|
100 |
31.55 |
34.82 |
40.14 |
46.72 |
51.32 |
|
Приложение 2. Верхние процентные (1%) точки для статистики (7) критерия Кокрена, построенной по m независимым оценкам дисперсии, каждая из которых обладает n степенями свободы. Выборка принадлежит распределению экспоненциального семейства с параметром формы 1 (распределению Лапласа)
|
|
1 |
2 |
3 |
4 |
5 |
6 |
7 |
8 |
9 |
10 |
16 |
36 |
144 |
|
2 |
– |
0.997 |
0.990 |
0.978 |
0.975 |
0.965 |
0.949 |
0.939 |
0.926 |
0.917 |
0.872 |
0.786 |
0.659 |
|
3 |
0.997 |
0.970 |
0.941 |
0.908 |
0.886 |
0.866 |
0.841 |
0.827 |
0.808 |
0.791 |
0.724 |
0.606 |
0.475 |
|
4 |
0.981 |
0.931 |
0.881 |
0.855 |
0.800 |
0.787 |
0.744 |
0.734 |
0.704 |
0.710 |
0.612 |
0.499 |
0.372 |
|
5 |
0.953 |
0.888 |
0.829 |
0.775 |
0.735 |
0.700 |
0.672 |
0.655 |
0.635 |
0.622 |
0.538 |
0.415 |
0.307 |
|
6 |
0.936 |
0.836 |
0.765 |
0.730 |
0.676 |
0.638 |
0.615 |
0.593 |
0.576 |
0.552 |
0.470 |
0.363 |
0.259 |
|
7 |
0.897 |
0.796 |
0.727 |
0.678 |
0.619 |
0.592 |
0.578 |
0.550 |
0.521 |
0.505 |
0.420 |
0.325 |
0.228 |
|
8 |
0.874 |
0.772 |
0.683 |
0.624 |
0.577 |
0.555 |
0.520 |
0.499 |
0.471 |
0.457 |
0.380 |
0.287 |
0.202 |
|
9 |
0.846 |
0.731 |
0.654 |
0.596 |
0.550 |
0.510 |
0.485 |
0.453 |
0.440 |
0.424 |
0.342 |
0.263 |
0.180 |
|
10 |
0.824 |
0.715 |
0.609 |
0.553 |
0.511 |
0.479 |
0.450 |
0.425 |
0.406 |
0.394 |
0.322 |
0.242 |
0.164 |
|
12 |
0.774 |
0.648 |
0.565 |
0.501 |
0.458 |
0.427 |
0.396 |
0.377 |
0.361 |
0.347 |
0.282 |
0.209 |
0.138 |
|
15 |
0.716 |
0.577 |
0.496 |
0.450 |
0.394 |
0.366 |
0.340 |
0.328 |
0.304 |
0.297 |
0.242 |
0.176 |
0.113 |
|
20 |
0.624 |
0.501 |
0.408 |
0.355 |
0.327 |
0.303 |
0.279 |
0.269 |
0.251 |
0.239 |
0.190 |
0.134 |
0.086 |
|
24 |
0.572 |
0.441 |
0.369 |
0.320 |
0.295 |
0.263 |
0.245 |
0.230 |
0.218 |
0.207 |
0.164 |
0.115 |
0.072 |
|
30 |
0.512 |
0.383 |
0.315 |
0.274 |
0.257 |
0.218 |
0.206 |
0.197 |
0.184 |
0.173 |
0.137 |
0.094 |
0.059 |
|
40 |
0.428 |
0.321 |
0.258 |
0.221 |
0.200 |
0.184 |
0.163 |
0.154 |
0.143 |
0.137 |
0.106 |
0.073 |
0.045 |
|
60 |
0.331 |
0.246 |
0.194 |
0.167 |
0.144 |
0.128 |
0.118 |
0.106 |
0.103 |
0.097 |
0.074 |
0.050 |
0.031 |
Приложение 3. Верхние процентные (5%) точки для статистики (7) критерия Кокрена, построенной по m независимым оценкам дисперсии, каждая из которых обладает n степенями свободы. Выборка принадлежит распределению экспоненциального семейства с параметром формы 1 (распределению Лапласа)
|
|
1 |
2 |
3 |
4 |
5 |
6 |
7 |
8 |
9 |
10 |
16 |
36 |
144 |
|
2 |
0.999 |
0.984 |
0.966 |
0.947 |
0.928 |
0.910 |
0.894 |
0.885 |
0.870 |
0.862 |
0.815 |
0.728 |
0.623 |
|
3 |
0.978 |
0.924 |
0.879 |
0.842 |
0.804 |
0.784 |
0.760 |
0.740 |
0.725 |
0.710 |
0.641 |
0.548 |
0.443 |
|
4 |
0.938 |
0.852 |
0.803 |
0.747 |
0.706 |
0.679 |
0.658 |
0.635 |
0.623 |
0.604 |
0.534 |
0.447 |
0.346 |
|
5 |
0.894 |
0.788 |
0.717 |
0.683 |
0.647 |
0.606 |
0.585 |
0.557 |
0.547 |
0.524 |
0.466 |
0.377 |
0.284 |
|
6 |
0.857 |
0.737 |
0.662 |
0.616 |
0.570 |
0.551 |
0.526 |
0.495 |
0.482 |
0.464 |
0.407 |
0.327 |
0.239 |
|
7 |
0.811 |
0.690 |
0.620 |
0.570 |
0.530 |
0.500 |
0.481 |
0.454 |
0.435 |
0.421 |
0.364 |
0.283 |
0.210 |
|
8 |
0.765 |
0.650 |
0.571 |
0.529 |
0.492 |
0.460 |
0.433 |
0.416 |
0.398 |
0.389 |
0.333 |
0.256 |
0.185 |
|
9 |
0.736 |
0.609 |
0.547 |
0.501 |
0.452 |
0.431 |
0.407 |
0.390 |
0.371 |
0.357 |
0.303 |
0.233 |
0.167 |
|
10 |
0.710 |
0.578 |
0.511 |
0.465 |
0.426 |
0.398 |
0.379 |
0.359 |
0.344 |
0.330 |
0.276 |
0.214 |
0.152 |
|
12 |
0.652 |
0.531 |
0.461 |
0.415 |
0.379 |
0.353 |
0.333 |
0.319 |
0.306 |
0.296 |
0.244 |
0.182 |
0.128 |
|
15 |
0.590 |
0.466 |
0.406 |
0.357 |
0.329 |
0.306 |
0.285 |
0.276 |
0.262 |
0.246 |
0.204 |
0.151 |
0.104 |
|
20 |
0.508 |
0.394 |
0.340 |
0.297 |
0.269 |
0.251 |
0.234 |
0.220 |
0.208 |
0.200 |
0.163 |
0.117 |
0.080 |
|
24 |
0.461 |
0.348 |
0.304 |
0.264 |
0.241 |
0.222 |
0.207 |
0.191 |
0.182 |
0.172 |
0.139 |
0.100 |
0.067 |
|
30 |
0.401 |
0.307 |
0.258 |
0.224 |
0.202 |
0.187 |
0.170 |
0.163 |
0.153 |
0.146 |
0.115 |
0.082 |
0.055 |
|
40 |
0.338 |
0.263 |
0.212 |
0.182 |
0.167 |
0.148 |
0.139 |
0.130 |
0.120 |
0.106 |
0.083 |
0.064 |
0.042 |
|
60 |
0.262 |
0.195 |
0.159 |
0.137 |
0.120 |
0.109 |
0.100 |
0.093 |
0.087 |
0.084 |
0.064 |
0.045 |
0.029 |
Приложение 4. Верхние процентные (10%) точки для статистики (7) критерия Кокрена, построенной по m независимым оценкам дисперсии, каждая из которых обладает n степенями свободы. Выборка принадлежит распределению экспоненциального семейства с параметром формы 1 (распределению Лапласа)
|
|
1 |
2 |
3 |
4 |
5 |
6 |
7 |
8 |
9 |
10 |
16 |
36 |
144 |
|
2 |
0.996 |
0.969 |
0.942 |
0.917 |
0.894 |
0.874 |
0.857 |
0.849 |
0.832 |
0.823 |
0.776 |
0.698 |
0.606 |
|
3 |
0.955 |
0.879 |
0.826 |
0.788 |
0.756 |
0.730 |
0.711 |
0.688 |
0.672 |
0.661 |
0.597 |
0.519 |
0.428 |
|
4 |
0.895 |
0.796 |
0.740 |
0.691 |
0.653 |
0.624 |
0.605 |
0.581 |
0.572 |
0.555 |
0.496 |
0.420 |
0.332 |
|
5 |
0.842 |
0.720 |
0.657 |
0.615 |
0.586 |
0.552 |
0.534 |
0.511 |
0.499 |
0.483 |
0.428 |
0.351 |
0.273 |
|
6 |
0.790 |
0.671 |
0.604 |
0.554 |
0.518 |
0.495 |
0.479 |
0.448 |
0.439 |
0.424 |
0.375 |
0.305 |
0.231 |
|
7 |
0.743 |
0.621 |
0.559 |
0.509 |
0.474 |
0.455 |
0.432 |
0.410 |
0.394 |
0.381 |
0.334 |
0.267 |
0.202 |
|
8 |
0.698 |
0.575 |
0.517 |
0.472 |
0.440 |
0.415 |
0.389 |
0.374 |
0.364 |
0.355 |
0.302 |
0.238 |
0.178 |
|
9 |
0.669 |
0.547 |
0.485 |
0.441 |
0.407 |
0.384 |
0.368 |
0.352 |
0.333 |
0.320 |
0.278 |
0.217 |
0.160 |
|
10 |
0.637 |
0.522 |
0.457 |
0.412 |
0.379 |
0.358 |
0.341 |
0.325 |
0.311 |
0.298 |
0.255 |
0.200 |
0.146 |
|
12 |
0.585 |
0.468 |
0.408 |
0.367 |
0.343 |
0.316 |
0.299 |
0.286 |
0.274 |
0.265 |
0.222 |
0.170 |
0.123 |
|
15 |
0.522 |
0.412 |
0.355 |
0.321 |
0.295 |
0.274 |
0.255 |
0.244 |
0.237 |
0.220 |
0.186 |
0.141 |
0.100 |
|
20 |
0.446 |
0.347 |
0.298 |
0.265 |
0.237 |
0.226 |
0.209 |
0.199 |
0.187 |
0.180 |
0.148 |
0.110 |
0.077 |
|
24 |
0.403 |
0.309 |
0.266 |
0.232 |
0.214 |
0.195 |
0.184 |
0.171 |
0.163 |
0.156 |
0.128 |
0.094 |
0.065 |
|
30 |
0.351 |
0.270 |
0.227 |
0.200 |
0.181 |
0.167 |
0.152 |
0.147 |
0.139 |
0.130 |
0.106 |
0.077 |
0.053 |
|
40 |
0.297 |
0.226 |
0.186 |
0.162 |
0.148 |
0.132 |
0.123 |
0.118 |
0.109 |
0.117 |
0.091 |
0.060 |
0.040 |
|
60 |
0.230 |
0.173 |
0.140 |
0.121 |
0.107 |
0.096 |
0.090 |
0.085 |
0.079 |
0.076 |
0.059 |
0.042 |
0.028 |